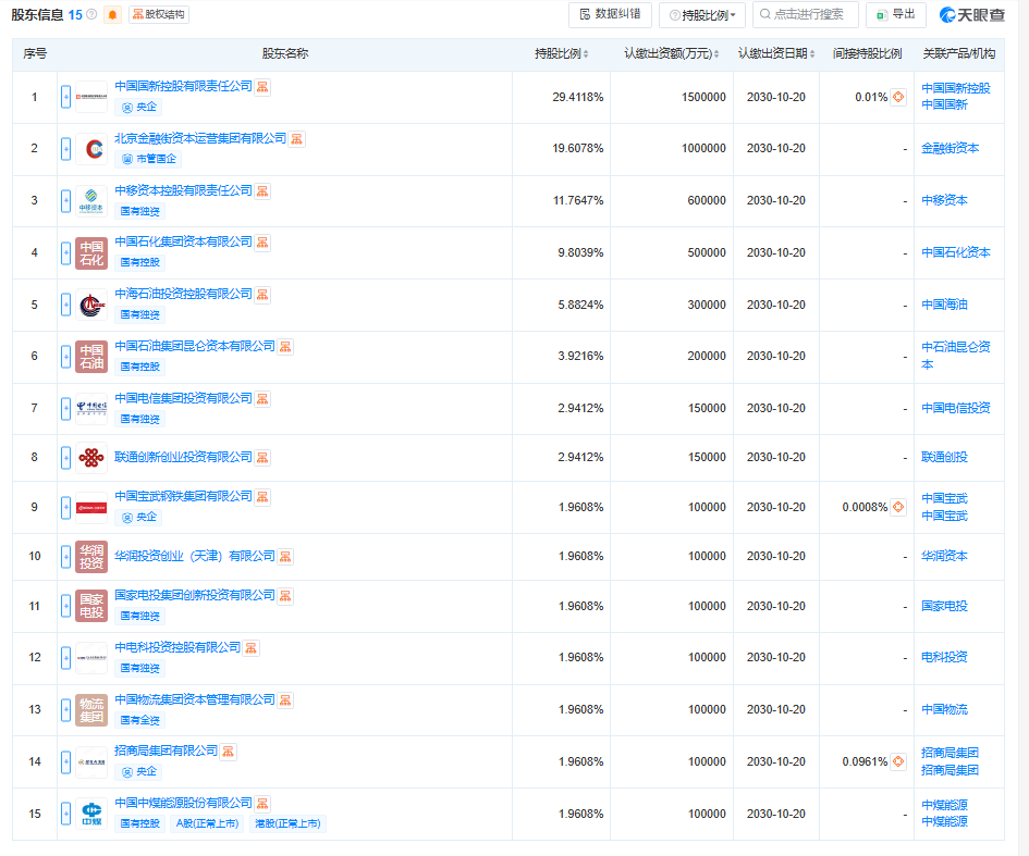
10月30日消息,由国务院国资委发起,委托中国国新设立和管理的中央企业战略性新兴产业发展专项基金在北京启动。央企战新基金首期募集510亿元,出资合作单位包括中国移动、中国石化、中国海油、中国石油、中国电信、中国联通、中国电科、国家电投、中国宝武、招商局集团、华润集团、中煤集团、中国物流和北京市西城区等,将作为国务院国资委推动中央企业战新产业加快发展的专项基金,支持国资央企补齐产业短板弱项、布局前沿创新。

该基金投资期为5年,管理和退出期为8年,其中投资期最多可延长2年,合计15年。该基金作为国务院国资委推动中央企业战略性新兴产业加快发展的专项基金,将支持国资央企补齐产业短板弱项、布局前沿创新,进一步增强核心功能、提升核心竞争力。将重点支持人工智能、航空航天、高端装备、量子科技等战略性新兴产业以及未来能源、未来信息、未来制造等未来产业重点领域。
天下秀发布2025年三季报:营收27.34亿元,技术创新驱动营销生态升级
按照国务院国资委部署,央企战新基金将以服务国家战略需求为核心,围绕产业链强链补链,助推央企加快战新产业规模和质量同步提升,加快央企战新产业布局发展,促进国家重点领域高水平自立自强。
来源:中国国新、央视新闻
点击获取更多LP资讯
本文